CLGR® High Tensile D Shackle with Screw Pin is also called Dee Shackle Screw Pin and Chain Shackle Screw Pin.
The body of D Shackle is made of high tensile carbon steel and the pin is made of alloy steel. Working Load Limits shown on every shackle, it has the highest safety factor 6 to 1 and in the industry.
Their Surface Finished galvanized, self-color, powder coated, and through heat treatment, strong and durable. Also, we have done stress testing for samples of each batch. Dee Shackle comes with handy square head pin which you can fasten the pin by hand.
Chain Shackle with Screw Pin is available in a range of sizes. Special specifications and marks can be made according to customers’requirements.
| Brand | CLGR® |
| Size | 1/4”, 5/16”, 3/8”, 7/16”, 1/2”, 5/8”, 3/4”, 7/8”, 1”, 1-1/2”, 1/1/4”, 1-3/8”, 1-1/2”, 1-3/4”, 2”, 2-1/2” |
| Standard | U.S. Federal Specification (ASME B30.26) |
| Safety Factor | 6 : 1 / 4 :1 |
| Material | Body: Superior Carbon Steel, Pin: Alloy Steel |
| Surface Finish | Body Hot Dipped Galvanized, Powder Coated, Zinc Plated, Screw Pin Powder Coated, Zinc Plated |
| Processing | Drop Forged, Heat Treatment |

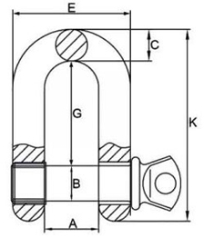
Part No. | Size | WLL | Weight | Dimensions (in.) | Tolerance +/- | ||||||
(in.) | (t) | (lbs) | A | B | C | E | G | K | G | A | |
CR-HT-DS-SHP1/4 | 1/4 | 1/2 | 0.11 | 0.47 | 0.31 | 0.25 | 0.97 | 0.97 | 1.59 | 0.06 | 0.06 |
CR-HT-DS-SHP5/16 | 5/16 | 3/4 | 0.17 | 0.53 | 0.38 | 0.31 | 1.15 | 1.07 | 1.91 | 0.06 | 0.06 |
CR-HT-DS-SHP3/8 | 3/8 | 1 | 0.28 | 0.66 | 0.44 | 0.38 | 1.42 | 1.28 | 2.31 | 0.13 | 0.06 |
CR-HT-DS-SHP7/16 | 7/16 | 1-1/2 | 0.43 | 0.75 | 0.5 | 0.44 | 1.63 | 1.48 | 2.67 | 0.13 | 0.06 |
CR-HT-DS-SHP1/2 | 1/2 | 2 | 0.59 | 0.81 | 0.63 | 0.5 | 1.81 | 1.66 | 3.03 | 0.13 | 0.06 |
CR-HT-DS-SHP5/8 | 5/8 | 3-1/4 | 1.25 | 1.06 | 0.75 | 0.63 | 2.32 | 2.04 | 3.76 | 0.13 | 0.06 |
CR-HT-DS-SHP3/4 | 3/4 | 4-3/4 | 2.63 | 1.25 | 0.88 | 0.81 | 2.75 | 2.4 | 4.53 | 0.25 | 0.06 |
CR-HT-DS-SHP7/8 | 7/8 | 6-1/2 | 3.16 | 1.44 | 1 | 0.97 | 3.2 | 2.86 | 5.33 | 0.25 | 0.06 |
CR-HT-DS-SHP1/1 | 1 | 8-1/2 | 4.75 | 1.69 | 1.13 | 1 | 3.69 | 3.24 | 5.94 | 0.25 | 0.06 |
CR-HT-DS-SHP1-1/2 | 1-1/2 | 9-1/2 | 6.75 | 1.81 | 1.25 | 1.25 | 4.07 | 3.61 | 6.78 | 0.25 | 0.06 |
CR-HT-DS-SHP1-1/4 | 1-1/4 | 12 | 9.06 | 2.03 | 1.38 | 1.38 | 4.53 | 3.97 | 7.5 | 0.25 | 0.13 |
CR-HT-DS-SHP1-3/8 | 1-3/8 | 13-1/2 | 11.63 | 2.25 | 1.5 | 1.5 | 5.01 | 4.43 | 8.28 | 0.25 | 0.13 |
CR-HT-DS-SHP1-1/2 | 1-1/2 | 17 | 15.95 | 2.38 | 1.63 | 1.62 | 5.38 | 4.84 | 9.05 | 0.25 | 0.13 |
CR-HT-DS-SHP1-3/4 | 1-3/4 | 25 | 26.75 | 2.88 | 2 | 2.12 | 6.38 | 5.78 | 10.97 | 0.25 | 0.13 |
CR-HT-DS-SHP2/1 | 2 | 35 | 42.31 | 3.25 | 2.25 | 2.36 | 7.25 | 6.77 | 12.74 | 0.25 | 0.13 |
CR-HT-DS-SHP2-1/2 | 2-1/2 | 55 | 71.75 | 4.12 | 2.75 | 2.63 | 9.38 | 8.07 | 14.85 | 0.25 | 0.25 |