CLGR® High Tensile Shackles Bow Type Square Head Pin Blue Pin for Trawling, also called Blue Pin Square Head Bow Shackle, and some customers also call it as Trawl shackle bow type.
Certified to US Federal Specification RR-C-271 Grade A, this high tensile bow shackle is engineered for demanding marine and trawling applications.
Forged from 1045 steel with an alloy steel square head pin, the shackles for sale undergo quenching and tempering for superior strength and durability, achieving a 6:1 safety factor for reliable performance under extreme loads. The shackles for sale are available in self-colored, zinc-plated, or hot-dip galvanized finishes, with the blue pin option providing enhanced corrosion resistance and visibility in marine environments.
The square head pin design of the shackles for sale prevents rope tangling and ensures secure connections for trawl gear, fishing nets, chains, and rigging systems.
Ideal for offshore operations, commercial fishing, and heavy-duty marine applications, the shackles for sale are offered in sizes from 3/16" to 2-1/2". Custom specifications and identification marks can be provided by CLGR® to meet specialized project requirements.
| Brand | CLGR® |
Technical Notes | US Fed. Spec. RR-C-271, Grade A |
Material | Body: 1045 Steel Square Head Pin: Alloy Steel |
| Shackle Shape | Bow Shackle |
| Pin | Square Head Pin |
Safety Factor | 6:1 |
Processing | Forged / Quenched and Tempered. |
Finish | Self- colored / Zinc plated, Hot dipped galvanized. |
Size | 3/16″, 1/4″, 5/16″, 3/8″, 7/16″, 1/2″, 5/8″, 3/4″, 7/8″, 1″, 1-1/8″, 1-1/4″, 1-3/8″, 1-1/2″, 1-3/4″, 2″, 2-1/2″ |
Tips | Special specification and marks can be made according to customers' requirements |

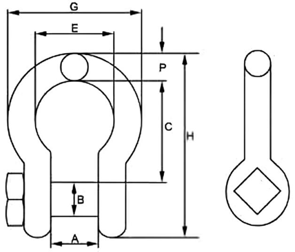
Part No. | Size | WLL | Weight | Dimensions (in.) | Tolerance +/- | ||||||||
| (in.) | (t) | (lbs) | A | B | C | E | G | H | L | P | C | A | |
CRBSSHPUS316 | 3/16″ | 1/3 | 0.06 | 0.38 | 0.25 | 0.88 | 0.6 | 0.98 | 1.47 | 0.16 | 0.19 | 0.06 | 0.06 |
CRBSSHPUS14 | 1/4″ | 1/2 | 0.1 | 0.47 | 0.31 | 1.13 | 0.78 | 1.28 | 1.84 | 0.19 | 0.25 | 0.06 | 0.06 |
CRBSSHPUS516 | 5/16″ | 3/4 | 0.19 | 0.53 | 0.38 | 1.22 | 0.84 | 1.47 | 2.09 | 0.22 | 0.31 | 0.06 | 0.06 |
CRBSSHPUS38 | 3/8″ | 1 | 0.31 | 0.66 | 0.44 | 1.44 | 1.03 | 1.78 | 2.49 | 0.25 | 0.38 | 0.13 | 0.06 |
CRBSSHPUS716 | 7/16″ | 1-1/2 | 0.38 | 0.75 | 0.5 | 1.69 | 1.16 | 2.03 | 2.91 | 0.31 | 0.44 | 0.13 | 0.06 |
CRBSSHPUS12 | 1/2″ | 2 | 0.72 | 0.81 | 0.63 | 1.88 | 1.31 | 2.31 | 3.28 | 0.38 | 0.5 | 0.13 | 0.06 |
CRBSSHPUS58 | 5/8″ | 3-1/4 | 1.37 | 1.06 | 0.75 | 2.38 | 1.69 | 2.94 | 4.19 | 0.44 | 0.69 | 0.13 | 0.06 |
CRBSSHPUS34 | 3/4″ | 4-3/4 | 2.35 | 1.25 | 0.88 | 2.81 | 2 | 3.5 | 4.97 | 0.5 | 0.81 | 0.25 | 0.06 |
CRBSSHPUS78 | 7/8″ | 6-1/2 | 3.62 | 1.44 | 1 | 3.31 | 2.28 | 4.03 | 5.83 | 0.5 | 0.97 | 0.25 | 0.06 |
CRBSSHPUS01 | 1″ | 8-1/2 | 5.03 | 1.69 | 1.13 | 3.75 | 2.69 | 4.69 | 6.56 | 0.56 | 1.06 | 0.25 | 0.06 |
CRBSSHPUS118 | 1-1/8″ | 9-1/2 | 7.41 | 1.81 | 1.25 | 4.25 | 2.91 | 5.16 | 7.47 | 0.63 | 1.25 | 0.25 | 0.06 |
CRBSSHPUS114 | 1/1/4″ | 12 | 9.5 | 2.03 | 1.38 | 4.69 | 3.25 | 5.75 | 8.25 | 0.69 | 1.38 | 0.25 | 0.06 |
CRBSSHPUS138 | 1-3/8″ | 13-1/2 | 13.53 | 2.25 | 1.5 | 5.25 | 3.63 | 6.38 | 9.16 | 0.75 | 1.5 | 0.25 | 0.13 |
CRBSSHPUS112 | 1-1/2″ | 17 | 17.2 | 2.38 | 1.63 | 5.75 | 3.88 | 6.88 | 10 | 0.81 | 1.62 | 0.25 | 0.13 |
CRBSSHPUS134 | 1-3/4″ | 25 | 27.78 | 2.88 | 2 | 7 | 5 | 8.86 | 12.34 | 1 | 2.25 | 0.25 | 0.13 |
CRBSSHPUS2 | 2″ | 35 | 45 | 3.25 | 2.25 | 7.75 | 5.75 | 9.97 | 13.68 | 1.22 | 2.4 | 0.25 | 0.13 |
CRBSSHPUS212 | 2-1/2″ | 55 | 85.75 | 4.13 | 2.75 | 10.5 | 7.25 | 12.87 | 17.84 | 1.38 | 3.13 | 0.25 | 0.25 |