CLGR® Regular Nut Eye Bolts LG-291 also known as LG-291 Eye Bolt, Regular Nut Eye Bolt and Forged Steel Regular Nut Eye Bolts.
Our G-291 Regular Nut Eye Bolts are manufactured to meet or exceed ASME B30.26 standards, featuring a 5:1 safety factor for secure lifting applications.
These hot-dip galvanized eye bolts are drop forged from high-strength steel and supplied with matching hex nuts for complete installation readiness.
Available in sizes ranging from 1/4"×2" to 1-1/4"×20", they provide reliable anchor points for wire rope and rigging connections in marine and industrial environments.
Designed for straight-line pulls only, these bolts offer corrosion-resistant durability when properly installed.
| Brand | CLGR® |
| Origin | China |
| Technical Notes | Meets or exceeds all requirements of ASME B30.26 |
| Material | Forged Steel Regular Nut Eye Bolts LG-291 |
| Processing | Drop Forged, Quenched and Tempered |
| Finish | Hot Dip Galvanized |
| Size | 1/4 × 2”,1/4 × 4”,5/16 × 2 1/4”,5/16 × 4 1/4”,3/8 × 2 1/2”,3/8 × 4 1/2” 3/8 × 6”,1/2 × 3 1/4”,1/2 × 6”,1/2 × 8”,1/2 × 10”,1/2 × 12” 1/2 × 15”,5/8 × 4”,5/8 × 6”,5/8 × 8”,5/8 × 10”,5/8 × 12” 5/8 × 15”,5/8 × 24”,3/4 × 4 1/2”,3/4 × 6”,3/4 × 8”,3/4 × 10” 3/4 × 12”,3/4 × 15”,7/8 × 5”,7/8 × 8”,7/8 × 12”,1 × 6” 1 × 9”,1 × 12”,1 × 18”,1 1/4 × 8”,1 1/4 × 12”,1 1/4 × 20” |
| Safety Factor | 5:1 |
| Tips | Furnished with standard Hot Dip galvanized hex nuts. |

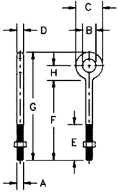
Part No. | Shank Dia&Length(in) | Working | Weight (lbs) | Dimensions (in) | |||||||
A | B | C | D | E | F | G | H | ||||
CR291EB101 | 1/4 × 2 | 500 | 8.2 | 0.25 | 0.5 | 1 | 0.25 | 1.5 | 2 | 3.06 | 0.56 |
CR291EB102 | 1/4 × 4 | 500 | 11.7 | 0.25 | 0.5 | 1 | 0.25 | 2.5 | 4 | 5.06 | 0.56 |
CR291EB103 | 5/16 × 2 1/4 | 800 | 13.3 | 0.31 | 0.62 | 1.25 | 0.31 | 1.5 | 2.25 | 3.56 | 0.69 |
CR291EB104 | 5/16 × 4 1/4 | 800 | 25 | 0.31 | 0.62 | 1.25 | 0.31 | 2.5 | 4.25 | 5.56 | 0.69 |
CR291EB105 | 3/8 × 2 1/2 | 1200 | 23.3 | 0.38 | 0.75 | 1.5 | 0.38 | 1.5 | 2.5 | 4.12 | 0.88 |
CR291EB106 | 3/8 × 4 1/2 | 1200 | 29.5 | 0.38 | 0.75 | 1.5 | 0.38 | 2.5 | 4.5 | 6.12 | 0.88 |
CR291EB107 | 3/8 × 6 | 1200 | 35.2 | 0.38 | 0.75 | 1.5 | 0.38 | 2.5 | 6 | 7.62 | 0.88 |
CR291EB108 | 1/2 × 3 1/4 | 2200 | 50.3 | 0.5 | 1 | 2 | 0.5 | 1.5 | 3.25 | 5.38 | 1.12 |
CR291EB109 | 1/2 × 6 | 2200 | 66.1 | 0.5 | 1 | 2 | 0.5 | 3 | 6 | 8.12 | 1.12 |
CR291EB110 | 1/2 × 8 | 2200 | 82 | 0.5 | 1 | 2 | 0.5 | 3 | 8 | 10.12 | 1.12 |
CR291EB111 | 1/2 × 10 | 2200 | 88 | 0.5 | 1 | 2 | 0.5 | 3 | 10 | 12.12 | 1.12 |
CR291EB112 | 1/2 × 12 | 2200 | 114.2 | 0.5 | 1 | 2 | 0.5 | 3 | 12 | 14.12 | 1.12 |
CR291EB113 | 1/2 × 15 | 2200 | 116.85 | 0.5 | 1 | 2 | 0.5 | 4 | 15 | 17.12 | 1.12 |
CR291EB114 | 5/8 × 4 | 3500 | 103.1 | 0.62 | 1.25 | 2.5 | 0.62 | 2 | 4 | 6.69 | 1.44 |
CR291EB115 | 5/8 × 6 | 3500 | 118.2 | 0.62 | 1.25 | 2.5 | 0.62 | 3 | 6 | 8.69 | 1.44 |
CR291EB116 | 5/8 × 8 | 3500 | 135.1 | 0.62 | 1.25 | 2.5 | 0.62 | 3 | 8 | 10.69 | 1.44 |
CR291EB117 | 5/8 × 10 | 3500 | 153.6 | 0.62 | 1.25 | 2.5 | 0.62 | 3 | 10 | 12.69 | 1.44 |
CR291EB118 | 5/8 × 12 | 3500 | 167.1 | 0.62 | 1.25 | 2.5 | 0.62 | 4 | 12 | 14.69 | 1.44 |
CR291EB119 | 5/8 × 15 | 3500 | 201.16 | 0.62 | 1.25 | 2.5 | 0.62 | 5 | 15 | 17.69 | 1.44 |
CR291EB120 | 5/8 × 24 | 3500 | 279.1 | 0.62 | 1.25 | 2.5 | 0.62 | 6 | 24 | 26.69 | 1.44 |
CR291EB121 | 3/4 × 4 1/2 | 5200 | 168.6 | 0.75 | 1.5 | 3 | 0.75 | 2 | 4.5 | 7.69 | 1.69 |
CR291EB122 | 3/4 × 6 | 5200 | 184.5 | 0.75 | 1.5 | 3 | 0.75 | 3 | 6 | 9.19 | 1.69 |
CR291EB123 | 3/4 × 8 | 5200 | 207.9 | 0.75 | 1.5 | 3 | 0.75 | 3 | 8 | 11.19 | 1.69 |
CR291EB124 | 3/4 × 10 | 5200 | 235 | 0.75 | 1.5 | 3 | 0.75 | 3 | 10 | 13.19 | 1.69 |
CR291EB125 | 3/4 × 12 | 5200 | 257.5 | 0.75 | 1.5 | 3 | 0.75 | 4 | 12 | 15.19 | 1.69 |
CR291EB126 | 3/4 × 15 | 5200 | 298 | 0.75 | 1.5 | 3 | 0.75 | 5 | 15 | 18.19 | 1.69 |
CR291EB127 | 7/8 × 5 | 7200 | 270 | 0.88 | 1.75 | 3.5 | 0.88 | 2.5 | 5 | 8.75 | 2 |
CR291EB128 | 7/8 × 8 | 7200 | 308 | 0.88 | 1.75 | 3.5 | 0.88 | 4 | 8 | 11.75 | 2 |
CR291EB129 | 7/8 × 12 | 7200 | 400 | 0.88 | 1.75 | 3.5 | 0.88 | 4 | 12 | 15.75 | 2 |
CR291EB130 | 1 × 6 | 10000 | 421 | 1 | 2 | 4 | 1 | 3 | 6 | 10.31 | 2.31 |
CR291EB131 | 1 × 9 | 10000 | 468.5 | 1 | 2 | 4 | 1 | 4 | 9 | 13.31 | 2.31 |
CR291EB132 | 1 × 12 | 10000 | 540 | 1 | 2 | 4 | 1 | 4 | 12 | 16.31 | 2.31 |
CR291EB133 | 1 × 18 | 10000 | 650 | 1 | 2 | 4 | 1 | 7 | 18 | 22.31 | 2.31 |
CR291EB134 | 1 1/4 × 8 | 15200 | 750 | 1.25 | 2.5 | 5 | 1.25 | 4 | 8 | 13.38 | 2.88 |
CR291EB135 | 1 1/4 × 12 | 15200 | 900 | 1.25 | 2.5 | 5 | 1.25 | 4 | 12 | 17.38 | 2.88 |
CR291EB136 | 1 1/4 × 20 | 15200 | 1210 | 1.25 | 2.5 | 5 | 1.25 | 6 | 20 | 25.38 | 2.88 |
Warning:
Always inspect eye bolt before use.
Never use eye bolt that shows signs of wear or damage.
Never machine, grind, or cut eye bolt.
Always screw eye bolt down completely for proper seating.