Email Us

CLGR® Grade 80 Kelly's Eyes Blue Painted

This Grade 80 Kelly's Eye, also referred to as a Kelly Eye, is a high-grade lifting component manufactured from alloy steel and heat-treated to achieve a Grade 80 rating, ensuring superior strength and durability.


The g80 kelly's eye is finished with a distinctive blue paint that provides an effective protective layer against corrosive seawater environments, used for fishing and trawling gear. It is specifically engineered for use with E90 Stoppers, offering reliable performance in demanding marine and heavy-lift applications.
To Get A Quote >
g80 kelly's eye blue painted
g80 kelly's eye blue painted china supplier
g80 kelly's eye blue painted china manufacturer
g80 kelly's eye blue painted china
g80 kelly's eye blue painted
g80 kelly's eye blue painted china supplier
g80 kelly's eye blue painted china manufacturer
g80 kelly's eye blue painted china

Overview of CLGR® Grade 80 Kelly's Eyes Blue Painted

BrandCLGR®

Material

Super Alloy Steel

Safety Factor

5: 1

Processing

Forged / Quenched and Tempered.

Finish

Powder Coated

WLL

7T ,12T, 19T

Tips

Color Code : Customized according to customers’ requirements

Note

Never exceed Working Load Limit

Country of Origin

China


Specifications of CLGR® Grade 80 Kelly's Eyes Blue Painted

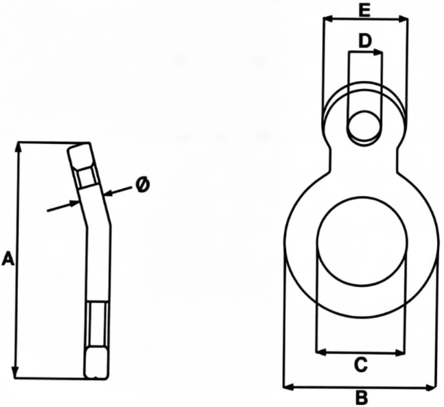
Drawing of CLGR® Grade 80 Kelly's Eyes Blue Painted China Supplier

Part no.

WLL

5:1

Thickness

φ

A

B

C

D

E

Weight

ton

mm

mm

mm

mm

mm

mm

kg

CRE90025

7.0

25

220

135

75

33

85

2.8

CRE90030

12.0

30

300

200

123

43

110

6.5

CRE90038

19.0

40

360

235

145

50

135

12.0

CRE90040

19.0

40

310

205

123

43

120

9.8


Products
CLGR® Are Expecting Your Inquiry!
We design, manufacture and distribute products and provide services for lifting and material handling applications, the construction metal industry, the trawl industry and the yacht accessories industry.
Upload Files
What Is A Wire Ferrule? An Essential Guide
What Is A Wire Ferrule? An Essential Guide
A wire ferrule is a specialized electrical connector used to terminate the ends of stranded wires, serving as a reliable alternative to traditional wire terminals. While similar in function to common ...
How to Choose the Right Web Sling?
How to Choose the Right Web Sling?
To identify the proper web sling for your needs, begin by confirming its Working Load Limit (WLL), ensuring the sling never exceeds its certified capacity during use. The rated WLL is primarily determ...
What does types of Eye Bolts?
What does types of Eye Bolts?
Eye bolts are a versatile type of hardware that can be used for a variety of lifting and rigging applications. They are made up of a threaded shank with a loop or eye at one end, and they can be attac...
How to Choose the Right Wire Rope?
How to Choose the Right Wire Rope?
Choosing the right wire rope doesn't have to be complicated. Follow this clear guide to get reliable performance and safety for your equipment.1. Rope StrengthCalculate the maximum working load, i...
+86-15866883493 sales@clgrindustrial.com
Office Address: Room808,Dexin Building,No.788 Lanao Road,Jimo District,Qinadao,266200.China. Factory Address: Qingdao Hu Group, No.212 Yanqing Road, Jimo District, Qingdao, 266200, China.
We use cookies to offer you a better browsing experience, analyze site traffic and personalize content. Part of the tracking is necessary to ensure SEO effectiveness,
By using this site, you agree to our use of cookies. Visit our cookie policy to learn more.
Reject Accept